新闻热线:0537-2372789

通讯员QQ群:124771586

大众报业集团主办    新闻热线:0537-2372789   新闻邮箱:jndzwww@163.com   QQ:124771586

当前位置:首页 > 文章

波音公司申请分体无人机专利 可变身潜艇

2015-08-23 21:51 作者: 来源:人民网
 
原标题:波音公司申请分体无人机专利 可变身潜艇(图)

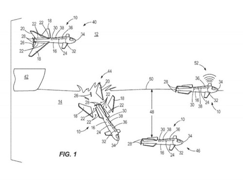
波音公司申请分体无人机专利可变身潜艇(图)

  波音申请新专利,无人机“秒变”潜水艇。

  据外媒报道,飞机制造商波音公司拟研制一款两栖无人机,有关设计已获美国当局批出专利。这款无人机的独特之处,在于能潜入水中,可协助运送物资到潜艇,如同“变形金刚”。

  报道称,波音公司于2013年向美国专利商标局申请专利,今年4月获批。波音称,两栖无人机可用于水底侦测或运送物资到潜艇。

  按照描述,无人机可从航母起飞,飞近目标后便可潜入水中,尾翼、稳定器及其中一组螺旋桨能脱离机身,方便于水底潜行。专利显示,无人机将设有爆炸螺栓 或使用可溶于盐水的胶水,令这些组件易于从机身分离。

  报道指出,而无人机在水底则依靠一个浮箱控制潜水深度,另一组螺旋桨则使无人机可像其他机械潜艇般航行。当无人机浮出水面后,还可向控制中心传输数据。

  据悉,专利文件并无详述无人机使用哪类型引擎或燃料,也没有消息显示波音正进行测试,估计仍处于构思阶段。

初审编辑:王振   责任编辑:宋申超

手机快拍二维码 用手机阅读分享此新闻
大众网版权与免责声明
1、大众网所有内容的版权均属于作者或页面内声明的版权人。未经大众网的书面许可,任何其他个人或组织均不得以任何形式将大众网的各项资源转载、复制、编 辑或发布使用于其他任何场合;不得把其中任何形式的资讯散发给其他方,不可把这些信息在其他的服务器或文档中作镜像复制或保存;不得修改或再使用大众网的 任何资源。若有意转载本站信息资料,必需取得大众网书面授权。
2、已经本网授权使用作品的,应在授权范围内使用,并注明"来源:大众网"。违反上述声明者,本网将追究其相关法律责任。
3、凡本网注明"来源:XXX(非大众网)"的作品,均转载自其它媒体,转载目的在于传递更多信息,并不代表本网赞同其观点和对其真实性负责。本网转载其 他媒体之稿件,意在为公众提供免费服务。如稿件版权单位或个人不想在本网发布,可与本网联系,本网视情况可立即将其撤除。
4、如因作品内容、版权和其它问题需要同本网联系的,请30日内进行。